Login/Register
Choose your country

SCANIA Parts - Genuine & OEM

Find the right components to keep your reliable and efficient. All parts are genuine or OEM quality, ensuring precise fit, long-lasting durability and compliance with technical standards. With fast EU warehouse processing and worldwide delivery, we help you minimize downtime and keep your fleet on the road.
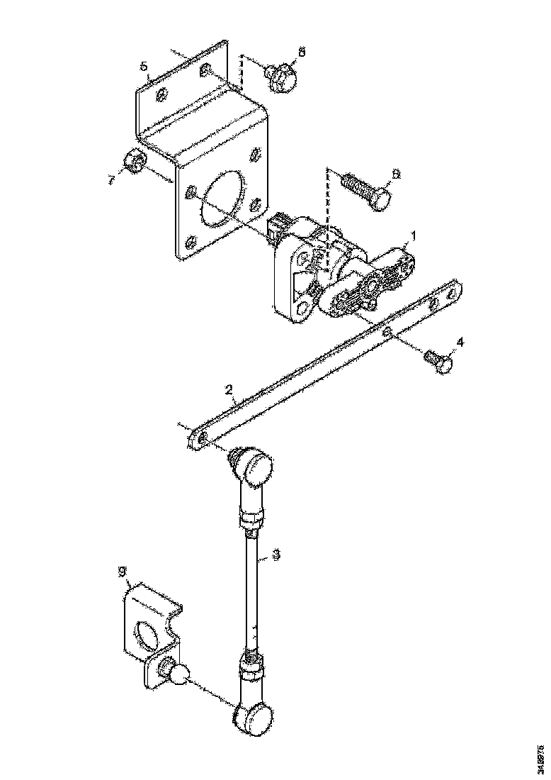
Buy 1449757 GENUINE SCANIA SCANIA

GENUINE SCANIA
SCANIA

Buy 1477970 SCREW SCANIA

SCREW
SCANIA

Buy 1491612 GENUINE SCANIA SCANIA

GENUINE SCANIA
SCANIA

Buy 1491613 DRAGLINK SCANIA

DRAGLINK
SCANIA

Buy 1516989 GEARBOX HO SCANIA

GEARBOX HO
SCANIA

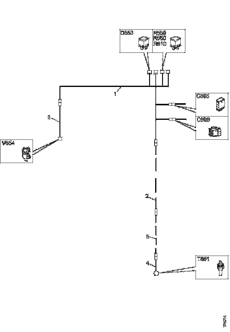
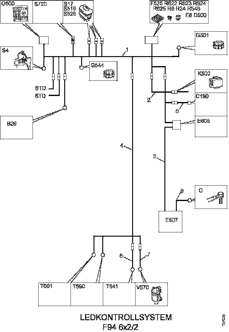
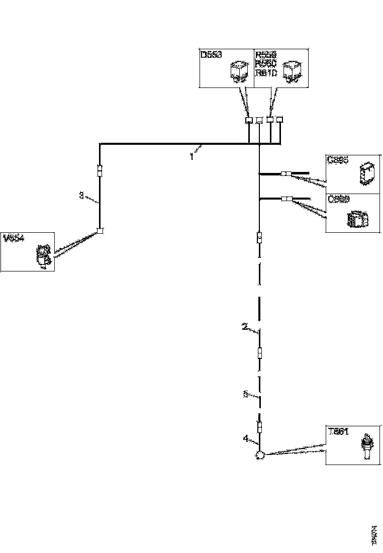
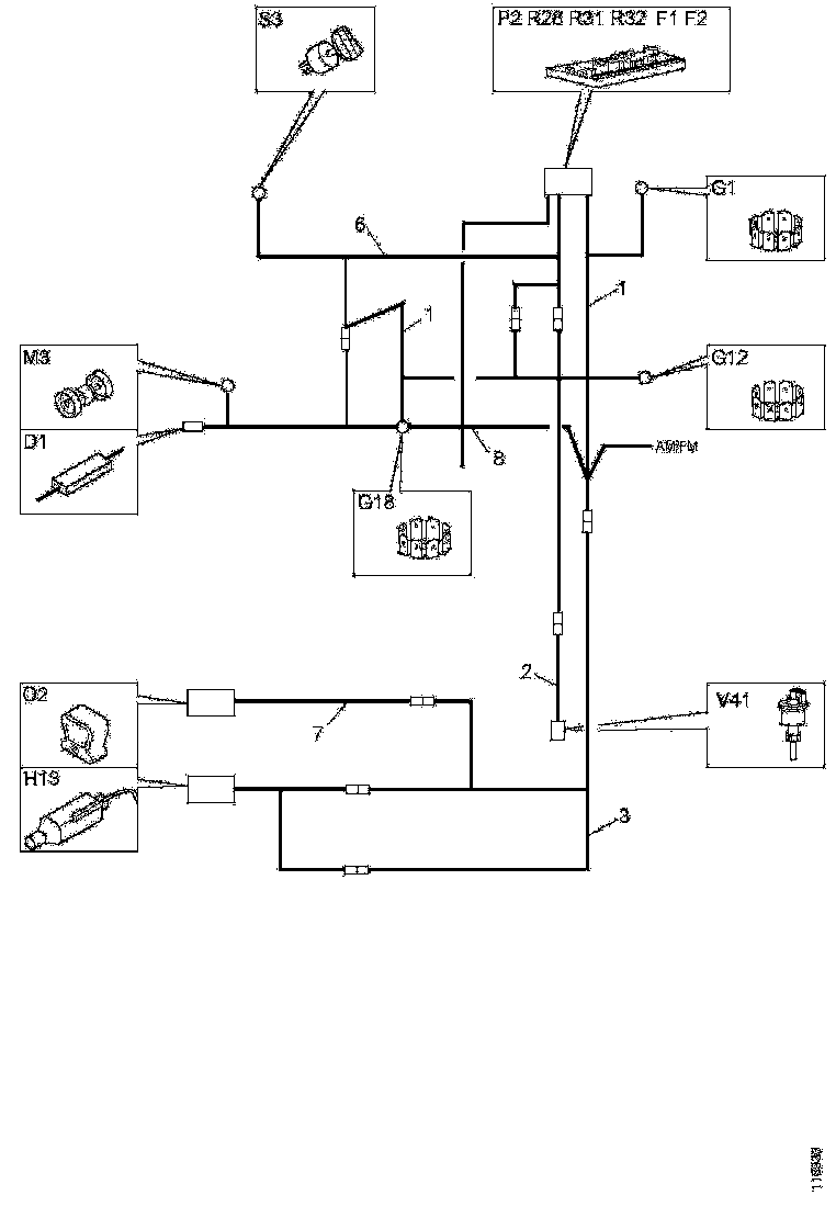
CONNECTING
SCANIA

SCANIA parts catalogue

Why Choose Genuine SCANIA Truck Parts?

Genuine and OEM SCANIA truck parts guarantee maximum performance, safety and durability. They are designed specifically for SCANIA vehicles to ensure perfect compatibility and compliance with the highest quality standards. Using original SCANIA parts helps extend the service life of your truck, reduces downtime and maintains safety on the road.